铁甲工程机械网> 工程机械资讯> 行业 > 金欧起重取得“一种悬臂起重机”的实用新型专利

金欧起重取得“一种悬臂起重机”的实用新型专利

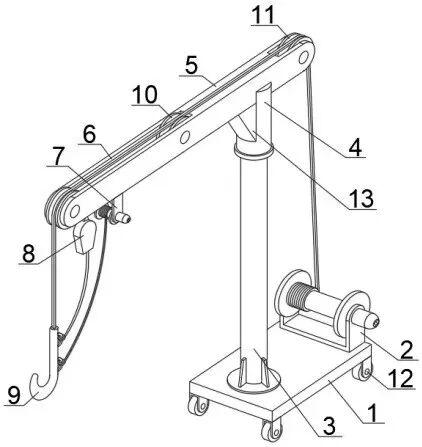
国家知识产权局信息显示,金欧起重机有限公司取得一项名为“一种悬臂起重机”的实用新型专利,授权公告号CN223592294U,申请日期为2024年11月。

专利摘要显示,本实用新型涉及起重设备技术领域,且公开了一种悬臂起重机,包括底板、第一收放线组件、柱套、第二收放线组件和挂钩;底板顶部螺栓固定有立柱,立柱顶端通过轴承套设有柱套,柱套顶端通过螺栓固定有横梁,横梁一端开设有预留槽,横梁底部设置于第二收放线组件,第二收放线组件包括通过螺栓固定有第二结构架,第二结构架内部通过轴承转动连接有第二缠绕盘。该新型通过第一减速电机驱动第一缠绕盘正反转,通过粗钢丝绳拉动挂钩及其挂在挂钩上的物体上下移动,通过细钢丝绳在挂钩上移时对其进行拉动,使挂钩不会晃动,通过防坠器的设置可以防止细钢丝绳断开后挂钩坠落,提高本悬臂起重机的安全性,适合广泛推广使用。

*来源:国家知识产权局

起重达人

点击报名

点击上方图片跳转详情页,了解更多内容

“起重达人”孵化计划持续进行中,现诚邀各省1位优秀、有实力的业务经理,加入我们,共同打造覆盖全国的起重优品供应链生态。

扫描下方二维码填写报名表

自媒体达人短视频培训课

点击购买

点击上方图片跳转详情页,了解更多内容

你是不是想做自媒体引流,却卡在“不会拍、不会剪、不知道拍什么”?别慌!起重汇创始人老杨手把手教你,3天从0变身自媒体达人,短视频创作不用愁~

点击卡片直接购买

扫码关注♥

---- 点个赞吧✦₊



声明:本文系转载自互联网,请读者仅作参考,并自行核实相关内容。若对该稿件内容有任何疑问或质疑,请立即与铁甲网联系,本网将迅速给您回应并做处理,再次感谢您的阅读与关注。

相关文章
我要评论
表情
欢迎关注我们的公众微信