铁甲工程机械网> 工程机械资讯> 行业 > 河南矿山取得“铜板码垛用起重设备”专利

河南矿山取得“铜板码垛用起重设备”专利

国家知识产权局信息显示,河南省矿山起重机有限公司及河南矿源矿山起重机研究院取得一项名为“铜板码垛用起重设备”的专利,授权公告号CN120793722A,申请日期为2025年8月。

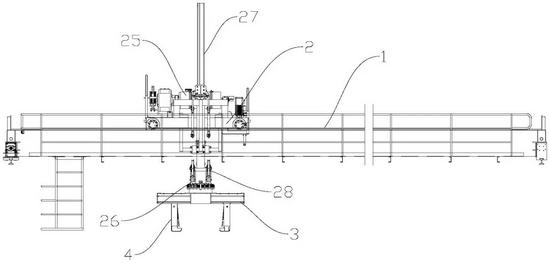
专利摘要显示,本发明涉及吊装设备技术领域,具体涉及一种铜板码垛用起重设备,包括行架,行架的两端均设有行走轮,带动行架进行移动,行架上安装有沿着其长度方向进行移动的行走小车,行走小车的下部安装有夹具组件,行走小车内设有与夹具组件连接的升降装置,利用行架、行走小车以及升降装置来完成夹具组件在X、Y、Z三个轴向上的移动,进而实现对铜板的码垛和转运作业,利用调节模块能够带动夹爪向内翻转后在板材的下方进行托举,与常规的利用摩擦力进行转运的卡爪相比,转运时的稳定性和安全性更高,同时能够减少对板材边缘部位的磨损,与磁吸式的转运设备相比,对板材的材质没有限定,且能同时进行多张板材的同步转移,转移效率更高。

*来源:国家知识产权局

起重达人

点击报名

点击上方图片跳转“起重达人详情页,了解更多内容

“起重达人”孵化计划已正式启动,现诚邀各省1位优秀、有实力的业务经理,以投资合作形式加入我们,共同打造覆盖全国的起重优品供应链生态,书写行业发展新篇章。

扫描下方二维码填写报名表,或直接点击卡片购买(注意:购买前记得咨询小客服,查询该地区是否已被预订)

扫码关注♥

---- 点个赞吧✦₊



声明:本文系转载自互联网,请读者仅作参考,并自行核实相关内容。若对该稿件内容有任何疑问或质疑,请立即与铁甲网联系,本网将迅速给您回应并做处理,再次感谢您的阅读与关注。

相关文章
我要评论
表情
欢迎关注我们的公众微信